 |
Український клуб фанів FIAT / CLUB UCRAINO TIFOSO DELLA FIAT
|
 |
| Предыдущая тема :: Следующая тема |
| Автор |
Сообщение |
shmel-jr Италомафиози


Возраст: 44 Знак зодиака:  Зарегистрирован: 02.11.2007 Сообщения: 773 Откуда: город серого неба
Авто: Фиат Уно Турбо
|
Добавлено: Пн Июн 23, 2008 08:18 Заголовок сообщения: Сделал себе бустконтроллер |
|
|
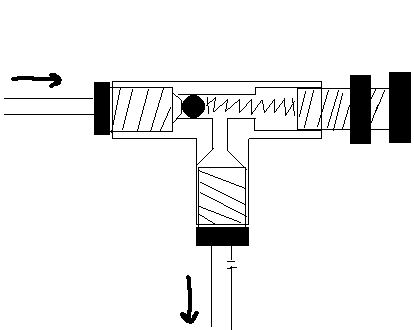
На прошлой неделе сделал себе механический бустконтроллер из подручных средств
Было затрачено: тормозной тройник для аффтамабиля ВАЗ (50 рублей), тормозная трубка (20 рублей), нашел в гараже маленький стальной шарик (бесплатно) и пожертвовал авторучкой для изъятия пружинки.
Стандартный избыток был почему-то 0.4 бара, и машинко ехало немного быстрее 16-ти клапанной десятки. Сейчас сделал избыток 0.9 бар - теперь тачко валит адски
| Описание: |
|
| Размер: |
36.95 KB |
| Просмотрено: |
313 раз(а) |

|
| Описание: |
|
| Размер: |
11.73 KB |
| Просмотрено: |
317 раз(а) |

|
| Описание: |
|
| Размер: |
34.06 KB |
| Просмотрено: |
316 раз(а) |

|
|
|
| Вернуться к началу |
|
 |
TroF_911 Италоманьячище


Возраст: 35 Знак зодиака:  Зарегистрирован: 12.08.2007 Сообщения: 5104 Откуда: Київ (Святошино)
Авто: Fiat Tipo 1.6 m.i. DGT "92
|
Добавлено: Пн Июн 23, 2008 14:16 Заголовок сообщения: |
|
|
shmel-jr
еммм...а что такое этот "буст контролер"?
_________________ Ми всі однакові давно
Вам зрозуміти не дано
Що схід і захід за одно
Дайте пожити спокійно |
|
| Вернуться к началу |
|
 |
Master Почетный кидала

Возраст: 37 Знак зодиака:  Зарегистрирован: 12.10.2006 Сообщения: 7747 Откуда: Киев
Авто: VW Transporter T5 2.5TDI 2007гв,Fiat Tempra 1.9TDs DGT+clima 96г.в(бешеный трактор)
|
Добавлено: Пн Июн 23, 2008 14:18 Заголовок сообщения: |
|
|
TroF_911
во темнота
_________________ Безумие-это наш запасной Выход!!!©Street NRG
VW Transporter T5 2.5TDI 2007гв(174л.с)(большoй Икарус)
Fiat Tempra 1.6 ie=>Fiat Tempra 1.9TDs DGT+clima,96г.в(TURBO трактор)
067 763 30 38 |
|
| Вернуться к началу |
|
 |
DIN Италоманьячище


Возраст: 57 Знак зодиака:  Зарегистрирован: 30.03.2006 Сообщения: 7610 Откуда: г.Харьков
Авто: 155 1993г.в. + Джульетта 1984г.в.
|
Добавлено: Пн Июн 23, 2008 15:01 Заголовок сообщения: |
|
|
так это клапан овербуста получился.
а что у тебя такой не стоял?
_________________ лучше с другом потерять чем с дураком найти |
|
| Вернуться к началу |
|
 |
ЕжЫк Италоманьячище


Возраст: 37 Знак зодиака:  Зарегистрирован: 19.03.2006 Сообщения: 3407 Откуда: Днепропетровск
Авто: Infiniti G35x Бывшие:Alfa romeo 156 2.0 JTS SW, FIAT Bravo Sport
|
Добавлено: Пн Июн 23, 2008 16:07 Заголовок сообщения: |
|
|
Куда именно оно подключается?
Двиг нормально работает, мозги не дуреют?
_________________
 |
|
| Вернуться к началу |
|
 |
Godfather Оргкомитет клуба


Возраст: 38 Знак зодиака:  Зарегистрирован: 05.06.2006 Сообщения: 7967 Откуда: Киев
Авто: Peugeot 508 2.0HDI, Fiat Punto 188, 1.2, 16V, DL-TC46FHJ1AA (2002)
|
Добавлено: Пн Июн 23, 2008 16:11 Заголовок сообщения: |
|
|
| TroF_911 писал(а): | shmel-jr
еммм...а что такое этот "буст контролер"? |
Это такое специальное приспособление, чтобы быстрее убить турбину
_________________ Италоголизм не лечится...
***Хай згiне той, хто страцiушы сумленне, жалее укiнуць у Каппу "тры рублi". Ганьба яму! Кiдай у яго каменнi! У спякотны дзень не дай яму вады...!*** |
|
| Вернуться к началу |
|
 |
ЕжЫк Италоманьячище


Возраст: 37 Знак зодиака:  Зарегистрирован: 19.03.2006 Сообщения: 3407 Откуда: Днепропетровск
Авто: Infiniti G35x Бывшие:Alfa romeo 156 2.0 JTS SW, FIAT Bravo Sport
|
|
| Вернуться к началу |
|
 |
shmel-jr Италомафиози


Возраст: 44 Знак зодиака:  Зарегистрирован: 02.11.2007 Сообщения: 773 Откуда: город серого неба
Авто: Фиат Уно Турбо
|
Добавлено: Вт Июн 24, 2008 08:20 Заголовок сообщения: |
|
|
Бустконтроллер это девайс, позволяющий турбине задувать избыток выше стандартного. Избыток контролируется вестгейтом, и если бустконтроллера нет, то он в моем случае стравливает давление уже на 0.4 бара.
DIN - это не клапан овербуста, не надо путать. Я так понимаю ты имел ввиду штатный блоуофф - он у меня стоит.
ЕжЫк - он подключается в разрез между штуцером улитки и вестгейтом. Мозги не дуреют, штатный мозг как раз расчитан до 0.9 бар
Godfather - турбине от этого ничего плохого не будет, она как дула, так и продолжает дуть. Вот с перебором буста можно очень легко убить двигло, но пообщавшись с мотористом он меня заверил, что на таком бусте двигателю ничего страшного не будет (а он построил не один двигатель и сейчас распиливает запасную голову для моего двигателя )
|
|
| Вернуться к началу |
|
 |
DIN Италоманьячище


Возраст: 57 Знак зодиака:  Зарегистрирован: 30.03.2006 Сообщения: 7610 Откуда: г.Харьков
Авто: 155 1993г.в. + Джульетта 1984г.в.
|
Добавлено: Вт Июн 24, 2008 09:21 Заголовок сообщения: |
|
|
ну пральна, он "дурит" вестгейт а тот в свою очередь на большем давлении открывает клапан сброса давления.
надо бы манометр поставить или стоит? покашь.
_________________ лучше с другом потерять чем с дураком найти |
|
| Вернуться к началу |
|
 |
ЕжЫк Италоманьячище


Возраст: 37 Знак зодиака:  Зарегистрирован: 19.03.2006 Сообщения: 3407 Откуда: Днепропетровск
Авто: Infiniti G35x Бывшие:Alfa romeo 156 2.0 JTS SW, FIAT Bravo Sport
|
Добавлено: Вт Июн 24, 2008 14:03 Заголовок сообщения: |
|
|
shmel-jr
Чем хорош двиг на Уно, так это СЖ 7.8, в сток можно много надуть, не боясь детонации. И все же 0.9 уже нормальное давление, я бы постоянно не ездил с таким, лучше подсобирать денег на электронный буст типа апекси авцр.
_________________
 |
|
| Вернуться к началу |
|
 |
ЯР-КИЙ Италоманьяк


Возраст: 43 Знак зодиака:  Зарегистрирован: 08.02.2006 Сообщения: 478 Откуда: KIev
Авто: MSI 300GT.Mazda cx7.
|
Добавлено: Вт Июн 24, 2008 18:05 Заголовок сообщения: |
|
|
хакир)
_________________ Coupe....
некоторые машины так тяжело забыть)) |
|
| Вернуться к началу |
|
 |
shmel-jr Италомафиози


Возраст: 44 Знак зодиака:  Зарегистрирован: 02.11.2007 Сообщения: 773 Откуда: город серого неба
Авто: Фиат Уно Турбо
|
Добавлено: Ср Июн 25, 2008 07:34 Заголовок сообщения: |
|
|
| DIN писал(а): |
надо бы манометр поставить или стоит? покашь. |
В Уно турбо он изначально заинтегрирован в панель приборов
Вчера заменил тросик спидометра, теперь хоть вижу с какой скоростью еду , а то блин разгоняюсь по кольцевой на 5-й передаче до 6000 об/мин, подозреваю, что скорость за 200км/ч.
Сегодня постараюсь сделать видео разгона с места с видом на приборную панель
|
|
| Вернуться к началу |
|
 |
shmel-jr Италомафиози


Возраст: 44 Знак зодиака:  Зарегистрирован: 02.11.2007 Сообщения: 773 Откуда: город серого неба
Авто: Фиат Уно Турбо
|
Добавлено: Ср Июн 25, 2008 07:38 Заголовок сообщения: |
|
|
| ЕжЫк писал(а): | shmel-jr
И все же 0.9 уже нормальное давление, я бы постоянно не ездил с таким, лучше подсобирать денег на электронный буст типа апекси авцр. |
так я на нем постоянно не езжу, а только по выходным
У меня теперь для постоянной езды есть поджопная служебная машина
|
|
| Вернуться к началу |
|
 |
Ven0m Италофан


Возраст: 38 Знак зодиака:  Зарегистрирован: 13.06.2007 Сообщения: 240 Откуда: Киев, Позняки
Авто: Fiat Tipo 1.4i, Fiat Doblo 1.3 Multijet
|
Добавлено: Пн Июн 30, 2008 16:54 Заголовок сообщения: |
|
|
Обережно!!! Скажена Унка на Кільцевій!!!
|
|
| Вернуться к началу |
|
 |
Massimo. Италоманьячище


Возраст: 42 Знак зодиака:  Зарегистрирован: 10.02.2006 Сообщения: 3065 Откуда: Дніпро
Авто: Alfa Romeo Crosswagon; Volvo 740 Turbo, 240 Turbo; Chrysler Sebring Convertible 2.7
|
Добавлено: Пн Июн 30, 2008 17:52 Заголовок сообщения: |
|
|
Ежык, видел бы ты что стояло на уже твоей унке когда ею владел Хлор Была какая то аццкая устновка из водопроводного краника, никого не оставляла равнодушным
_________________ 050 361 65 10 |
|
| Вернуться к началу |
|
 |
|
|
Вы не можете начинать темы Вы не можете отвечать на сообщения Вы не можете редактировать свои сообщения Вы не можете удалять свои сообщения Вы не можете голосовать в опросах Вы не можете присоединять файлы в этом форуме Вы можете скачивать файлы в этом форуме
|
Powered by phpBB © 2001, 2005 phpBB Group
|